晶振官方博客
更多>>SiTime開發的新軟件可模擬振蕩器時間誤差仿真
來源:http://www.spinfm.net 作者:康華爾電子 2020年05月25
SiTime開發的新軟件可模擬振蕩器時間誤差仿真
自電信行業問世以來,網絡同步已成為語音通信的重要因素.早期,采用了頻率同步以確保高質量和高度可靠的電話呼叫.在當今的網絡中,數據流量會消耗大量網絡帶寬.盡管語音通信現在僅占網絡帶寬的一小部分,但仍需要頻率和時間/相位同步來確保網絡運行和可靠性.當網絡開始使用時分雙工(TDD)時,時間同步變得非常重要.隨著即將推出的5G,非常緊密的時間/相位同步以及頻率同步對于這些網絡提高數據吞吐量以支持新興應用(如自動駕駛,遠程手術和更精確的地理位置)的需求至關重要.
位于網絡節點中的石英晶體振蕩器在系統的整體同步性能中起著至關重要的作用.對于使用同步以太網的頻率同步系統,使用IEEE1588中描述的精確時間協議(PTP)的時間/相位/頻率同步系統,或兩者的結合,都是如此.在5G網絡中,嚴格的時間調整要求在整個系統中至關重要.取決于MIMO,載波聚合和發射機分集,基站天線的對準要求可能非常嚴格,低至65納秒(ns).此外,回程網絡中的每個網絡節點(網絡交換機,路由器)所允許的增加的定時誤差量可以低至每個節點5ns.
在這樣的同步系統中,每個網絡節點上都有一個本地振蕩器,它提供了時鐘到同步的鎖相環(PLL).取決于實現方式,PLL環路帶寬通常設置在1mHz至0.1Hz的范圍內.許多因素都會影響時間誤差性能.本地振蕩器的穩定性是導致節點中產生時間誤差的主要因素.PLL濾波功能(PLL環路階數,PLL環路帶寬)和輸入信號中的漂移量也是影響因素.
使用實時數據進行實際時間誤差分析是一個復雜而漫長的過程,需要執行數周至數月的時間.為了幫助緩解這些問題,SITIME晶振開發了Time Error Simulator軟件,該軟件可模擬本地振蕩器的不穩定性產生多少漂移,前提是基準輸入理想且無漂移.該工具可以在各種不同的系統參數和溫度曲線下快速仿真時間誤差.
SiTime時間錯誤模擬器軟件需要振蕩器的以下三個基本性能數據區域(在組件級別上測量):
1.振蕩器在整個溫度范圍內的頻率-模擬溫度變化的影響.
2.振蕩器的頻率隨時間變化的行為(至少1小時的頻率趨勢)-模擬振蕩器的漂移貢獻.
3.一日頻率老化-模擬振蕩器的老化貢獻.
可以在實驗室中獲得不超過一天的數據采集數據.或者,它可以由振蕩器供應商提供.根據用戶PC的性能,24小時的頻率老化可能僅需半小時的仿真時間,這比進行實時測量要快得多.
1.僅PTP仿真模型
“僅PT”仿真模式可仿真本地振蕩器頻率變化對不具有物理層頻率支持的單個電信時鐘(如T-BC)的性能的影響.在這種情況下,該模型是單個PLL模型.Time Error Simulator軟件支持系統鎖定狀態的仿真.圖1展示了仿真模型圖. PLL模型的輸入是本地振蕩器隨時間變化的頻率特性.可以選擇對本地振蕩器的頻率變化有很多貢獻的因素:可變溫度效應,振蕩器漂移效應和每日老化效應.對于鎖定狀態仿真,假定PTP輸入為理想輸入,因此時間誤差為0.此方法用于仿真本地振蕩器不穩定的影響.本地振蕩器的頻率隨時間變化趨勢用于根據理想時鐘計算頻率誤差.對該頻率誤差進行積分以計算時間誤差.然后,將本地振蕩器對PLL輸出的貢獻模型應用于時間誤差,以模擬PLL輸出的最終時間誤差.本地振蕩器對PLL輸出的影響的簡化模型是具有截止頻率的高通濾波器,該截止頻率與環路濾波器帶寬相同.濾波器帶寬和訂購參數由用戶定義.
由于該軟件生成通用的PLL仿真,因此僅PTP仿真模式也可以用于估計SyncEeEEC性能.但是,時鐘帶寬將有所不同.在電信應用中,PTP帶寬通常在幾兆赫茲到20兆赫茲之間,而SyncE帶寬在0.1赫茲到10赫茲之間.
2.混合(PTP+SyncE)仿真模型
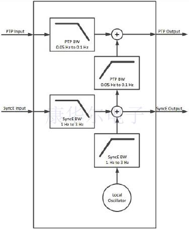
混合(PTP+SyncE)仿真模式可模擬本地振蕩器對單個T-BC或T-BC鏈的性能的影響.該模型假設混合T-BC,其中通過SyncE提供物理層頻率支持.該軟件實現了鎖定有源晶振狀態仿真.圖2顯示了G.8273.2中定義的T-BC模型.圖3顯示了在軟件中實現的T-BC的仿真模型.
圖2:G.8273.2中定義的T-BC模型
本地振蕩器隨時間變化的頻率特性與T-BC模型的僅PTP仿真輸入相同.假定PTPgrandmaster和SyncE主要參考時鐘都是理想的.在鏈仿真中,到該節點的PTP和SyncE輸入是來自先前節點的相應輸出.假定鏈中所有T-BC的本地振蕩器行為都相同.
使用本地振蕩器的隨時間變化的頻率趨勢測量可從理想時鐘計算出頻率誤差.對該頻率誤差進行積分以計算時間誤差.然后,將本地振蕩器對T-BC輸出的貢獻模型應用于時間誤差,以模擬由此產生的T-BC輸出的時間誤差.T-BC被模擬為兩個級聯的PLL-SyncEPLL和PTPPLL(見圖4).SyncEPLL的輸出是對PTP PLL的參考.
圖4:SyncE-PTPPLL級聯
如圖3所示,SiTime可編程振蕩器時間誤差到SyncE輸出的傳遞函數由帶寬等于SyncE帶寬的高通濾波器近似.SyncE輸入時間誤差到SyncE輸出時間誤差的傳遞函數由具有相同帶寬的低通濾波器近似.
SyncE可以看作是T-BCPTP模塊的本地振蕩器.為了對PTPPLL建模,在SyncEPLL的情況下使用了相同的概念:關于本地振蕩器貢獻(SyncE輸出)的高通傳遞函數和關于PTP輸入貢獻的低通傳遞函數.
3.本地振蕩器頻率變化的仿真
各種因素對本地振蕩器時間誤差的影響可以通過Time Error Simulator軟件進行模擬.這些因素是:
1.溫度變化
2.振蕩器的漂移
3.每日老化
在典型情況下,將模擬所有這些因素的最終貢獻,以解決現實生活中的情況.但是,也可以分別模擬每個因素的貢獻.圖5顯示了上述每個不同因素的仿真模型. 將代表每個影響因素的隨時間變化的頻率趨勢相加在一起,以計算總體頻率變化.然后,將其積分以計算時間誤差.使用代表系統對本地振蕩器不穩定性的響應的高通濾波器對Timeerror進行過濾.
SiTime開發的新軟件可模擬振蕩器時間誤差仿真
自電信行業問世以來,網絡同步已成為語音通信的重要因素.早期,采用了頻率同步以確保高質量和高度可靠的電話呼叫.在當今的網絡中,數據流量會消耗大量網絡帶寬.盡管語音通信現在僅占網絡帶寬的一小部分,但仍需要頻率和時間/相位同步來確保網絡運行和可靠性.當網絡開始使用時分雙工(TDD)時,時間同步變得非常重要.隨著即將推出的5G,非常緊密的時間/相位同步以及頻率同步對于這些網絡提高數據吞吐量以支持新興應用(如自動駕駛,遠程手術和更精確的地理位置)的需求至關重要.
位于網絡節點中的石英晶體振蕩器在系統的整體同步性能中起著至關重要的作用.對于使用同步以太網的頻率同步系統,使用IEEE1588中描述的精確時間協議(PTP)的時間/相位/頻率同步系統,或兩者的結合,都是如此.在5G網絡中,嚴格的時間調整要求在整個系統中至關重要.取決于MIMO,載波聚合和發射機分集,基站天線的對準要求可能非常嚴格,低至65納秒(ns).此外,回程網絡中的每個網絡節點(網絡交換機,路由器)所允許的增加的定時誤差量可以低至每個節點5ns.
在這樣的同步系統中,每個網絡節點上都有一個本地振蕩器,它提供了時鐘到同步的鎖相環(PLL).取決于實現方式,PLL環路帶寬通常設置在1mHz至0.1Hz的范圍內.許多因素都會影響時間誤差性能.本地振蕩器的穩定性是導致節點中產生時間誤差的主要因素.PLL濾波功能(PLL環路階數,PLL環路帶寬)和輸入信號中的漂移量也是影響因素.
使用實時數據進行實際時間誤差分析是一個復雜而漫長的過程,需要執行數周至數月的時間.為了幫助緩解這些問題,SITIME晶振開發了Time Error Simulator軟件,該軟件可模擬本地振蕩器的不穩定性產生多少漂移,前提是基準輸入理想且無漂移.該工具可以在各種不同的系統參數和溫度曲線下快速仿真時間誤差.
SiTime時間錯誤模擬器軟件需要振蕩器的以下三個基本性能數據區域(在組件級別上測量):
1.振蕩器在整個溫度范圍內的頻率-模擬溫度變化的影響.
2.振蕩器的頻率隨時間變化的行為(至少1小時的頻率趨勢)-模擬振蕩器的漂移貢獻.
3.一日頻率老化-模擬振蕩器的老化貢獻.
可以在實驗室中獲得不超過一天的數據采集數據.或者,它可以由振蕩器供應商提供.根據用戶PC的性能,24小時的頻率老化可能僅需半小時的仿真時間,這比進行實時測量要快得多.
1.僅PTP仿真模型
“僅PT”仿真模式可仿真本地振蕩器頻率變化對不具有物理層頻率支持的單個電信時鐘(如T-BC)的性能的影響.在這種情況下,該模型是單個PLL模型.Time Error Simulator軟件支持系統鎖定狀態的仿真.圖1展示了仿真模型圖. PLL模型的輸入是本地振蕩器隨時間變化的頻率特性.可以選擇對本地振蕩器的頻率變化有很多貢獻的因素:可變溫度效應,振蕩器漂移效應和每日老化效應.對于鎖定狀態仿真,假定PTP輸入為理想輸入,因此時間誤差為0.此方法用于仿真本地振蕩器不穩定的影響.本地振蕩器的頻率隨時間變化趨勢用于根據理想時鐘計算頻率誤差.對該頻率誤差進行積分以計算時間誤差.然后,將本地振蕩器對PLL輸出的貢獻模型應用于時間誤差,以模擬PLL輸出的最終時間誤差.本地振蕩器對PLL輸出的影響的簡化模型是具有截止頻率的高通濾波器,該截止頻率與環路濾波器帶寬相同.濾波器帶寬和訂購參數由用戶定義.
由于該軟件生成通用的PLL仿真,因此僅PTP仿真模式也可以用于估計SyncEeEEC性能.但是,時鐘帶寬將有所不同.在電信應用中,PTP帶寬通常在幾兆赫茲到20兆赫茲之間,而SyncE帶寬在0.1赫茲到10赫茲之間.
2.混合(PTP+SyncE)仿真模型
混合(PTP+SyncE)仿真模式可模擬本地振蕩器對單個T-BC或T-BC鏈的性能的影響.該模型假設混合T-BC,其中通過SyncE提供物理層頻率支持.該軟件實現了鎖定有源晶振狀態仿真.圖2顯示了G.8273.2中定義的T-BC模型.圖3顯示了在軟件中實現的T-BC的仿真模型.

圖2:G.8273.2中定義的T-BC模型
使用本地振蕩器的隨時間變化的頻率趨勢測量可從理想時鐘計算出頻率誤差.對該頻率誤差進行積分以計算時間誤差.然后,將本地振蕩器對T-BC輸出的貢獻模型應用于時間誤差,以模擬由此產生的T-BC輸出的時間誤差.T-BC被模擬為兩個級聯的PLL-SyncEPLL和PTPPLL(見圖4).SyncEPLL的輸出是對PTP PLL的參考.

圖4:SyncE-PTPPLL級聯
SyncE可以看作是T-BCPTP模塊的本地振蕩器.為了對PTPPLL建模,在SyncEPLL的情況下使用了相同的概念:關于本地振蕩器貢獻(SyncE輸出)的高通傳遞函數和關于PTP輸入貢獻的低通傳遞函數.
3.本地振蕩器頻率變化的仿真
各種因素對本地振蕩器時間誤差的影響可以通過Time Error Simulator軟件進行模擬.這些因素是:
1.溫度變化
2.振蕩器的漂移
3.每日老化
在典型情況下,將模擬所有這些因素的最終貢獻,以解決現實生活中的情況.但是,也可以分別模擬每個因素的貢獻.圖5顯示了上述每個不同因素的仿真模型. 將代表每個影響因素的隨時間變化的頻率趨勢相加在一起,以計算總體頻率變化.然后,將其積分以計算時間誤差.使用代表系統對本地振蕩器不穩定性的響應的高通濾波器對Timeerror進行過濾.
SiTime開發的新軟件可模擬振蕩器時間誤差仿真
正在載入評論數據...
相關資訊
- [2022-09-07]出色穩定性能的5032mm石英晶體振蕩器X1...
- [2022-08-01]diodes晶振專用于時間顯示設備的32.768...
- [2022-07-27]伊西斯的新型且創意的低姿態TCXO晶體振...
- [2020-06-22]深入探討有源晶振8個基礎參數詞匯
- [2020-05-25]SiTime開發的新軟件可模擬振蕩器時間誤...
- [2020-05-12]微處理器應該怎樣選擇匹配晶振?一文足...
- [2020-04-14]NDK株式會社差分振蕩器NP3225SBB規格更...
- [2020-03-13]不同類型的Crystal Oscillator工作與電...
- [2019-11-09]了解EPSON晶振獨特的封裝技術
- [2019-09-21]NDK振蕩器電路圖介紹及安裝示例
- [2019-09-16]擁有聲子晶體結構的AT切割諧振器共振分...
- [2019-09-04]SMD Oscillator高溫回流焊接的滯后反應...